このページでは、鳥取県発注の工事・業務に関する 工事成績評定を検索・閲覧できます。
工事/業務・年度・発注機関・工種などを自由に絞り込めるため、「自社の点数を確認したい」「競合の成績を調べたい」「特定の工種だけ見たい」など、幅広い用途に対応しています。
1. 画面全体の構成
ページは次の2つで構成されています。
- 工事評定一覧
- 検索フォーム

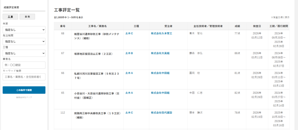
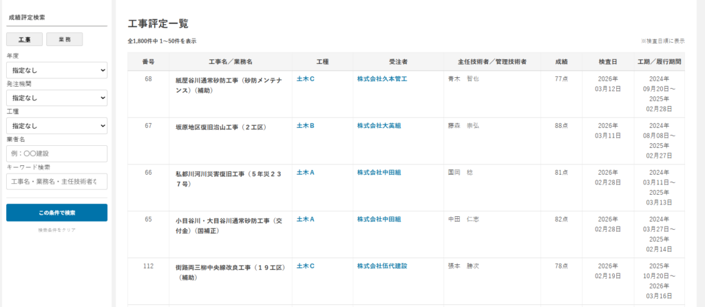
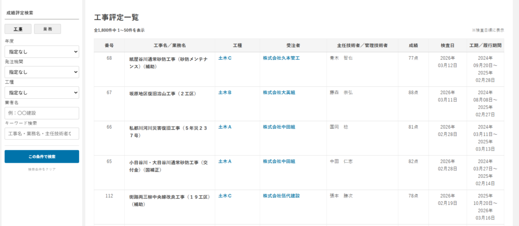
2. 工事評定一覧
- 工事名/業務名をクリックするとその案件の詳細ページへ移動
- 工種をクリックするとその工種で検索
- 受注者をクリックでその業者の成績一覧へ移動

3. 検索の使い方
検索フォームでは、条件を組み合わせて検索できます。
- 年度:2025年度の工事だけ → 「2025年度」を選択
- 発注機関:八頭県土整備事務所の案件だけ → 「八頭県土整備事務所」を選択
- 工種:土木工事だけ → 「土木A」など該当工種を選択
- 業者名:「○○建設」「△△組」など社名の一部でも検索可能
- キーワード検索:「橋」「学校」「若桜」「東郷湖」など工事名などに含まれる文字で検索可能
検索条件を設定したら 「この条件で検索」 をクリックします。
条件をリセットしたい場合は 「検索条件をクリア」 をクリックします。

4. 詳細ページの見方
一覧の「工事名/業務名」をクリックすると、その案件の詳細ページが表示されます。
詳細ページでは一覧の情報に加えて、請負金額や項目別評定点などが確認できます。
